Tesla

Tesla จดสิทธิบัตรใหม่เกี่ยวกับสถาปัตยกรรมการเดินสายไฟในรถ ซึ่ง Elon Musk เคยพูดไว้ตั้งแต่ปี 2017 แล้วว่า Tesla ต้องการลดความยาวของสายไฟในรถเพื่อให้กระบวนการผลิตง่ายขึ้นและใช้หุ่นยนต์ช่วยประกอบรถได้มากขึ้น

Elon ยังเคยบอกไว้ด้วยว่าความยาวรวมของสายไฟในรถ Tesla Model S อยู่ที่ 3 กิโลเมตร และ Tesla สามารถลดความยาวสายไฟในรุ่น Model 3 ลงมาได้เหลือ 1.5 กิโลเมตร แต่นั่นก็ยังไม่พอ โดย Tesla ตั้งเป้าว่าจะลดความยาวสายไฟให้เหลือเพียง 100 เมตรเท่านั้นในรุ่น Model Y


Tesla Model Y

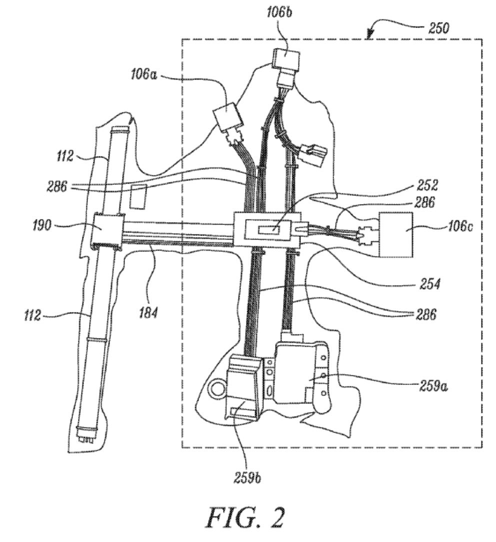
ในสิทธิบัตรดังกล่าวระบุว่าสถาปัตยกรรมการเดินสายไฟแบบใหม่จะรวมระบบย่อยๆ ไว้ด้วยกันในแต่ละจุดของรถ ตัวอย่างคือบริเวณประตูก็อาจจะติดตั้งกล่องที่ทำหน้าที่ควบคุมอุปกรณ์หลายอย่างไว้ด้วยกัน เช่นชิ้นส่วนล็อคประตูรถ, ไฟส่องสว่าง, ระบบเครื่องเสียง ฯลฯ จากนั้นก็เชื่อมต่อกล่องควบคุมแต่ละกล่องเข้ากับระบบสายไฟหลัก (wiring backbone) ของรถอีกที ไม่ต้องเดินสายไฟแยกจากคอมพิวเตอร์หรือแหล่งจ่ายไฟมาหาชิ้นส่วนแต่ละชิ้น ซึ่งโรงงานสามารถประกอบกล่องควบคุมระบบย่อยเหล่านี้ไว้ก่อนได้เลย


ภาพด้านบนของรถยนต์ที่แสดงให้เห็นการเดินสายไปจุดต่างๆ แบบใช้ระบบสายไฟหลัก

นอกจากนี้สิทธิบัตรยังระบุว่า Tesla จะเปลี่ยนไปใช้ชุดสายไฟ (wiring harness) ที่เอื้อให้หุ่นยนต์ทำงานได้ง่ายขึ้นด้วย โดยปัญหาใหญ่ที่ Tesla เคยเจอคือพยายามใช้หุ่นยนต์ในสายการผลิตมากเกินไป ทั้งที่มนุษย์ทำงานบางอย่างได้ดีกว่า


ภาพแสดงการเชื่อมต่อกล่องควบคุมระบบย่อยกับระบบสายไฟหลัก

Tesla บอกว่าการเดินสายไฟในรถยนต์ปัจจุบันนิยมใช้วิธีต่อสายแยกเส้นกัน คือแต่ละชิ้นส่วนก็มีสายของตัวเอง ทำให้ต้องใช้สายไฟจำนวนมาก (ลองเปิดฝากระโปรงรถดู ก็จะเห็นสายไฟเป็นมัดๆ) ผลคือรถยนต์หนึ่งคันอาจมีสายไฟยาวรวมกันหลายไมล์

ที่มา - Electrek, World Intellectual Property Organization
ภาพทั้งหมดโดย Tesla

Hiring! บริษัทที่น่าสนใจ

Carmen Software company cover
Carmen Software
Hotel Financial Solutions
Next Innovation (Thailand) Co., Ltd. company cover
Next Innovation (Thailand) Co., Ltd.
We are web design with consulting & engineering services driven the future stronger and flexibility.
KKP Dime company cover
KKP Dime
KKP Dime บริษัทในเครือเกียรตินาคินภัทร
Kiatnakin Phatra Financial Group company cover
Kiatnakin Phatra Financial Group
Financial Service
Fastwork Technologies company cover
Fastwork Technologies
Fastwork.co เว็บไซต์ที่รวบรวม ฟรีแลนซ์ มืออาชีพจากหลากหลายสายงานไว้ในที่เดียวกัน
Thoughtworks Thailand company cover
Thoughtworks Thailand
Thoughtworks เป็นบริษัทที่ปรึกษาด้านเทคโนโยลีระดับโลกที่คว้า Great Place to Work 3 ปีซ้อน
Iron Software company cover
Iron Software
Iron Software is an American company providing a suite of .NET libraries by engineer for engineers.
CLEVERSE company cover
CLEVERSE
Cleverse is a Venture Builder. Our team builds several tech companies.
Nipa Cloud company cover
Nipa Cloud
#1 OpenStack cloud provider in Thailand with our own data center and software platform.
Bangmod Enterprise company cover
Bangmod Enterprise
The leader in Cloud Server and Hosting in Thailand.
CIMB THAI Bank company cover
CIMB THAI Bank
MOVING FORWARD WITH YOU - CIMB is the leading ASEAN Bank
Bangkok Bank company cover
Bangkok Bank
Bangkok Bank is one of Southeast Asia's largest regional banks, a market leader in business banking
T.N. Digital Solution Co., Ltd. company cover
T.N. Digital Solution Co., Ltd.
TNDS has been involving in every first move of banking’s major digital transformation.
KBTG - KASIKORN Business-Technology Group company cover
KBTG - KASIKORN Business-Technology Group
KBTG - "The Technology Company for Digital Business Innovation"
Siam Commercial Bank Public Company Limited company cover
Siam Commercial Bank Public Company Limited
"Let's start a brighter career future together"
Icon Framework co.,Ltd. company cover
Icon Framework co.,Ltd.
Global Standard Platform for Real Estate แพลตฟอร์มสำหรับธุรกิจอสังหาริมทรัพย์ครบวงจร มาตรฐานระดับโลก
REFINITIV company cover
REFINITIV
The Financial and Risk business of Thomson Reuters is now Refinitiv
H LAB company cover
H LAB
Re-engineering healthcare systems through intelligent platforms and system design.
The Gang Technology Co., Ltd. company cover
The Gang Technology Co., Ltd.
We're a Digital Agency that helps our customers transform their business into digital with ease.
LTMH (WM) _TECH company cover
LTMH (WM) _TECH
LTMH (WM) _TECH มุ่งเน้นการพัฒนาผลิตภัณฑ์ที่สามารถช่วยพันธมิตรของเราให้บรรลุเป้าหมาย
Seven Peaks company cover
Seven Peaks
We Drive Digital Transformation
Wisesight (Thailand) Co., Ltd. company cover
Wisesight (Thailand) Co., Ltd.
The Best Choice For Handling Social Media · High Expertise in Social Data · Most Advanced and Secure
MOLOG Tech company cover
MOLOG Tech
We are Modern Logistic Platform, Specialize in WMS, OMS and TMS.
Data Wow Co.,Ltd company cover
Data Wow Co.,Ltd
We enable our clients to realize increased productivity by solving their most complex issues by Data
LINE Company Thailand company cover
LINE Company Thailand
LINE, the world's hottest mobile messaging platform, offers free text and voice messaging + Call
LINE MAN Wongnai company cover
LINE MAN Wongnai
Join our journey to becoming No.1 food platform in Thailand

i2c เร็วไม่พอครับ ผมเคยเล่นกับรถตัวเองมาแล้วทั้งคัน (Alfa Romeo)
ถ้าเร่ง i2c bus มากกว่า 100kHz ก็เละเลยครับ เพราะ noise จาก Dy-charge กวนมากมาย
พอเหลือแค่ 100kHz ก็ไม่พอ Update ค่าต่างๆ โดยเฉพาะ pulse จากวัดรอบเกียร์ที่เคยส่งขึ้นมาเพื่อคำนวนความเร็วรถ ซึ่งมันใช้ bus ถี่มาก

ถ้าต้องลดความเร็วรอรับ noise คงไม่ทันครับ แต่ถ้าได้ความเร็วดิบๆ 100-200kbps++ ก็น่าจะพอ?

ส่วนจะ wiring ยังไงให้มันทน noise นี่อีกเรื่องล่ะ

เอ้อ... แต่เดี๋ยวนะ..ผมเพิ่งฉุกคิด
Tesla มันรถไฟฟ้านี่หว่า ไม่มี Dy-charge...
ก็ไม่มี noise...
แบบนี้ wiring ดี เขาอาจทำได้ถึง 1Mbps เชียวนะเนี่ย

มันประสิทธิภาพดีกว่า Dy-charge ดาดๆ ที่เครื่องสันดาปใช้อยู่ครับ
อีกทั้ง noise ที่เกิดของ Dy-charge เป็นผลพวงมาจากการทำงานแบบเครื่องยนต์สันดาปครับ ไม่ใช่มาจาก factor ของตัวมันเพียงอย่างเดียว
ทั้งจาก Coil ที่ต้องกระชากกระแสไป spark หัวเทียนถี่ยิบ ทั้ง Solenoid หัวฉีดก็ถี่ยิบ ไหนจะ AC ปั๊ม (ปั๊มน้ำมันเชื้อเพลิง) ฯลฯ พวกนี้ไม่ได้มีความถี่และ impedance ที่แน่นอนตลอดเวลา แย่กว่าแอร์และ motor พัดลมไฟฟ้า
....เดี๋ยวผมจะนอกเรื่องไปไกล ได้ยกเครื่องยนต์เล่นเองทั้งหมดจริงๆ แล้วเจอเยอะเลยครับ จนผมยอมแพ้เลย แอบคิดว่าจะลากสาย fiber ในรถแทนเลยล่ะ

แต่ตอนนี้ ด้วยอายุ ก็เลิกทำรถมาสัก 10 ปีได้แล้ว สายตาก็ยาว มองอะไรก็ลำบากขึ้น เรี่ยวแรงก็ถดถอย เลยชักไม่สนุกแล้ว

ผมเอา Alfa ออกมาขับแค่ปีละ 2~3 ครั้งแล้วครับ รถที่ขับใช้งานจริงๆ ก็เกียร์ auto แล้ว วัยถดถอย..

อ๋อ แยก ECU หลายกล่อง เอาไว้ในห้องโดยสาร วิ่งด้วย CAN Bus นะครับ OK

วันดีคืนดี ขับรถอยู่ แมววิ่งตัดหน้า เหยียบเบรค แก้วโค๊กจาก McDonald หกใส่พรม ป๊าบบบ
ต้องนั่งภาวนาทั้ง 3 พระ , พระพุทธ พระธรรม พระสงค์ วิจิตรธรรมโชติ อาจารณ์ อ. อุบล ช่วยด้วย

ขอให้ดลบัลดาร ว่า โค๊กที่ไหลไปนั่น อย่าได้ไหลเข้ากล่อง อัลไลซักกล่อง ใต้พรมนันทีเถิด เพี๊ยงงง

..
ไม่รอด (ชัวร์ คิดว่าใช่ ต้องช่แน่ๆ)

กล่องสายไฟ ถูกยกสูงกว่าพื้นรถ และส่วนใหญ่ถูกยัดไว้ในคอนโซลหน้ารถหมดแล้วครับ พื้นรถ เปิดพรมมา ก็มีแต่เหล็กปั๊มขึ้นรูปเป็นตัวถัง จะมีอย่างมากก็เลข Chassis

deaknaew Wed, 24/07/2019 - 16:31

ชนที เบิกอะไหล่กล่องหมดตัวแน่นอน

Apple
public://topics-images/apple_webp.png
SCB10X
public://topics-images/347823389_774095087711602_515970870797767330_n_webp.png
Windows 11
public://topics-images/hero-bloom-logo.jpg
Huawei
public://topics-images/huawei_standard_logo.svg_.png
Google Keep
public://topics-images/google_keep_2020_logo.svg_.png
Instagram
public://topics-images/instagram_logo_2022.svg_.png
Microsoft
public://topics-images/microsoft_logo.svg_.png
Basecamp
public://topics-images/bwpepdi0_400x400.jpg
FTC
public://topics-images/seal_of_the_united_states_federal_trade_commission.svg_.png
Pinterest
public://topics-images/pinterest.png
Palantir
public://topics-images/-nzsuc6w_400x400.png
AIS Business
public://topics-images/logo-business-2021-1.png
PostgreSQL
public://topics-images/images.png
JetBrains
public://topics-images/icx8y2ta_400x400.png
Krungthai
public://topics-images/aam1jxs6_400x400.jpg
Palworld
public://topics-images/mccyhcqf_400x400.jpg
Bill Gates
public://topics-images/bill_gates-september_2024.jpg
VMware
public://topics-images/1nj4i1gp_400x400.jpg
Take-Two Interactive
public://topics-images/0khle7nh_400x400.jpg
OpenAI
public://topics-images/ztsar0jw_400x400.jpg
Thailand
public://topics-images/flag_of_thailand.svg_.png
ServiceNow
public://topics-images/ytnrfphe_400x400.png
Klarna
public://topics-images/urcllpjp_400x400.png
Google Play
public://topics-images/play.png
Drupal
public://topics-images/drupal.png
Virtua Fighter
public://topics-images/virtua_figther_2024_logo.png
Paradox Interactive
public://topics-images/paradox_interactive_logo.svg_.png
Europa Universalis
public://topics-images/europa-icon.png
Nintendo Switch 2
public://topics-images/mainvisual.png
Cloudflare
public://topics-images/cloudflare_logo.svg_.png
Samsung
public://topics-images/samsung.png
Google
public://topics-images/google_2015_logo.svg_.png
Uber
public://topics-images/uber.png
Microsoft 365
public://topics-images/m365.png
USA
public://topics-images/flag_of_the_united_states.svg_.png
GM
public://topics-images/0pe0po-z_400x400.jpg
Perplexity
public://topics-images/perplex.jpg
Xperia
public://topics-images/xperia.png
iOS 18
public://topics-images/ios-18-num-96x96_2x.png
True
public://topics-images/true_logo.png
SoftBank
public://topics-images/softbank.jpg
Pac-Man
public://topics-images/pacman.png
Harry Potter
public://topics-images/harry.png
Marvel
public://topics-images/marvel.png
Skydance
public://topics-images/skydance.png
SEA
public://topics-images/sealogo.png
Find Hub
public://topics-images/find.png
Accessibility
public://topics-images/accessibility-128x128_2x.png
Material Design
public://topics-images/m3-favicon-apple-touch.png
Android 16
public://topics-images/android16.png
Android
public://topics-images/android_0.png
Firefox
public://topics-images/firefox_logo-2019.svg_.png
Google Messages
public://topics-images/messages.png
Notepad
public://topics-images/notepad.png
Singapore
public://topics-images/flag_of_singapore.svg_.png
Airbnb
public://topics-images/airbnb.png
PS5
public://topics-images/ps5.png
Krafton
public://topics-images/krafton.png
Doom
public://topics-images/doom-game-s_logo.svg_.png
AMD
public://topics-images/amd_logo.svg_.png
GTA
public://topics-images/gta_0.png
DoorDash
public://topics-images/doordash.png
YouTube
public://topics-images/yt.png
YouTube Music
public://topics-images/yt-music.png
Facebook
public://topics-images/fb.png
iQiyi
public://topics-images/iqiyi_0.png
Viu
public://topics-images/viu.png
Amazon Prime Video
public://topics-images/prime-vid.png
Spotify
public://topics-images/spotify.jpg
HBO Max
public://topics-images/max.png
Threads
public://topics-images/threads.png
Alexa
public://topics-images/alexa.png
Kindle App
public://topics-images/kindle.png
Shopee
public://topics-images/shopee.png
Waze
public://topics-images/waze.png
Bilibili
public://topics-images/bili.png
Google Maps
public://topics-images/maps.png
Apple Music
public://topics-images/apple-music.png
Claude
public://topics-images/claude.png
TikTok
public://topics-images/tiktok.png
Xbox
public://topics-images/xbox.png
Tesla
public://topics-images/tesla.png
Chrome
public://topics-images/chrome.png
Google Calendar
public://topics-images/gcal.png
Google Meet
public://topics-images/meet.png
NotebookLM
public://topics-images/notebooklm.png
Reddit
public://topics-images/reddit.png
Assassin’s Creed
public://topics-images/ac.png
Mark Zuckerberg
public://topics-images/zuck.jpg
Meta
public://topics-images/meta.png
Meta AI
public://topics-images/meta-ai.png
Epic Games
public://topics-images/epic_games_logo.svg_.png
Unreal
public://topics-images/unreal_engine_logo-new_typeface-svg.png
Fortnite
public://topics-images/fortnite.png
DeepMind
public://topics-images/deepmind.png
Databricks
public://topics-images/databricks.png
Netflix
public://topics-images/netflix-logo.png
Microsoft Azure
public://topics-images/azure.png
Microsoft Copilot
public://topics-images/microsoft_copilot_icon.svg_.png
Bing
public://topics-images/bing.png
EA
public://topics-images/ea.png
Intel
public://topics-images/intel.png
Amazon
public://topics-images/amazon.png
AWS
public://topics-images/aws.png
Zoom
public://topics-images/zoom.png
Dropbox
public://topics-images/dropbox_0.png
Dell Technologies
public://topics-images/dell-tech.png
Nothing
public://topics-images/nothing.svg_.png
Microsoft Teams
public://topics-images/teams.png
Mojang
public://topics-images/mojang.png
Minecraft
public://topics-images/minecraft.png
Redis
public://topics-images/redis_logo.svg_.png
Ubisoft
public://topics-images/ubisoft_logo.svg_.png
Elden Ring
public://topics-images/elden.png
Brave
public://topics-images/brave.png
Opera
public://topics-images/opera.png
Vivaldi
public://topics-images/vivaldi.png
Microsoft Edge
public://topics-images/edge.png
Duolingo
public://topics-images/duolingo.png
LinkedIn
public://topics-images/linkedin.png
Canva
public://topics-images/canva.png
Realme
public://topics-images/realme.png
NASA
public://topics-images/nasa-logo.png
Booking.com
public://topics-images/booking.png
Agoda
public://topics-images/agoda.png
Bolt
public://topics-images/bolt.png
Temu
public://topics-images/temnu.png
LINE
public://topics-images/line.png
Facebook Messenger
public://topics-images/messenger.png
WhatsApp
public://topics-images/whatsapp.png
Telegram
public://topics-images/telegram.png
Signal
public://topics-images/signal.png
X.com
public://topics-images/x.png
Grok
public://topics-images/grok.png
xAI
public://topics-images/xai.png
CapCut
public://topics-images/capcut.png
Edits
public://topics-images/edit.png
Google One
public://topics-images/gone.png
Tinder
public://topics-images/tinger.png
Whoscall
public://topics-images/whoscall.png
OneDrive
public://topics-images/onedrive.png
Lightroom
public://topics-images/lr.png
Meitu
public://topics-images/meitu.png
Outlook
public://topics-images/outlook.png
Excel
public://topics-images/excel.png
PowerPoint
public://topics-images/ppt.png
Microsoft Word
public://topics-images/word.png
Phone Link
public://topics-images/phone-link.png
OneNote
public://topics-images/onenote.png
Windows App
public://topics-images/windows-app.png
Notion
public://topics-images/notion.png
Google Drive
public://topics-images/drive.png
YouTube Kids
public://topics-images/yt-kids.png
Gboard
public://topics-images/gboard.png
DeepSeek
public://topics-images/deepseek_logo.svg_.png
Prince of Persia
public://topics-images/prince-persia.png
Sony
public://topics-images/nq0nd2c0_400x400.jpg
Cisco
public://topics-images/jmyca1yn_400x400.jpg
Alibaba Cloud
public://topics-images/qm43orjx_400x400_cloud.png
Coinbase
public://topics-images/consumer_wordmark.png
CarPlay
public://topics-images/carplay.png
Rust
public://topics-images/rust-logo-blk.png
Red Hat
public://topics-images/redhat.png
Anthropic
public://topics-images/anthropic.png
Xcode
public://topics-images/xcode.png
Tim Cook
public://topics-images/tim-cook.jpg
Donald Trump
public://topics-images/trump.jpg
Microsoft Surface
public://topics-images/surface.jpg
Copilot+ PC
public://topics-images/copilotpc.png
Stellar Blade
public://topics-images/stellar-blade.jpg
Snapdragon
public://topics-images/snapdragon_chip.png
Qualcomm
public://topics-images/qualcomm-logo.svg_.png
CoreWeave
public://topics-images/coreweave.png
Ford
public://topics-images/ford.png
Xiaomi
public://topics-images/xiaomi.png
Google Cloud
public://topics-images/google_cloud_logo.svg_.png
PlayStation Network
public://topics-images/psn.png
PlayStation Plus
public://topics-images/ps-plus.png
Windsurf
public://topics-images/windsurf.png
Square Enix
public://topics-images/square-enix.png
MIT
public://topics-images/x7hyjl3t_400x400.jpg
Zoox
public://topics-images/zoox.jpg
Evernote
public://topics-images/1neatidg_400x400.jpg
Magic the Gathering
public://topics-images/magic.png
Call of Duty
public://topics-images/cod.png
NVIDIA
public://topics-images/nvidia_logo.svg_.png
Satya Nadella
public://topics-images/nadella.png
Nintendo
public://topics-images/nintendo.png
Japan
public://topics-images/japan_flag.png
China
public://topics-images/china-flag-sq.png
Sam Altman
public://topics-images/sam-altman.png
SNK
public://topics-images/snk_logo.svg_.png
EPYC
public://topics-images/epyc.png
Juniper
public://topics-images/juniper.png
CMA
public://topics-images/cma.png
App Store
public://topics-images/app-store.png
DoJ
public://topics-images/doj.png
Siri
public://topics-images/siri.png
Apple Intelligence
public://topics-images/apple-intelligence.png
Acer
public://topics-images/acer.png
GeForce
public://topics-images/geforce.png
Omen
public://topics-images/omen.png
Alienware
public://topics-images/alienware.png
Dell
public://topics-images/dell.png
Bungie
public://topics-images/bungie.png
Marathon
public://topics-images/marathon.png
Intel Arc
public://topics-images/badge-arc-graphics.png
GitHub
public://topics-images/8zfrryja_400x400.png
GitHub Copilot
public://topics-images/copilot.png
Foxconn
public://topics-images/foxconn_0.png
Visual Studio
public://topics-images/vs.png
Visual Studio Code
public://topics-images/vscode.png
WSL
public://topics-images/wsl.png
Linux
public://topics-images/linux.png
Tencent
public://topics-images/tencent_logo_2017.svg_.png
Entra
public://topics-images/microsoft_entra_id_color_icon.svg_.png
RHEL
public://topics-images/rhel-icon.png
MSI
public://topics-images/msi-logo-for_digital_use_b.png
MCP
public://topics-images/mcp.png
Docker
public://topics-images/docker.png
RISC-V
public://topics-images/risc-v-logo.svg_.png
Fedora
public://topics-images/fedora.png
ASUS
public://topics-images/asus.png
ROG
public://topics-images/rog-logo_red.png
Naughty Dog
public://topics-images/naughty-dog.png
AIS
public://topics-images/357073423_657473419752809_8491928084596189631_n.png
National Telecom
public://topics-images/nt.jpg
Elon Musk
public://topics-images/elon_musk_2015_0.jpg
OpenShift
public://topics-images/openshift-logotype.svg-0.png
Shift Up
public://topics-images/shiftup.png
Bethesda
public://topics-images/bethesda.png
The Elder Scrolls
public://topics-images/tes.png
CATL
public://topics-images/img_7841.png
Radeon
public://topics-images/radeon.png
Borderlands
public://topics-images/borderlands4.png
Android XR
public://topics-images/android-xr.png
Ninja Theory
public://topics-images/ninja.jpg
Jonathan Ive
public://topics-images/ive.jpg
Bitcoin
public://topics-images/bitcoin.svg_.png
Baidu
public://topics-images/baidu.jpg
Wear OS
public://topics-images/wearos.png
Activision
public://topics-images/activision.svg_.png
Netmarble
public://topics-images/netmarble.png
NetEase
public://topics-images/netease.png
Fujifilm
public://topics-images/l_9ycfw2_400x400.png
Google Vids
public://topics-images/vids.png
Google Docs
public://topics-images/docs.png
Google Sheets
public://topics-images/sheets.png
Google Chat
public://topics-images/gchat.png
Google Slides
public://topics-images/slides.png
Google Photos
public://topics-images/photos_0.png
Snapchat
public://topics-images/snapchat.png
Google TV
public://topics-images/gtv.png
Android Auto
public://topics-images/aauto.png
Gmail
public://topics-images/gmail.png
Google Forms
public://topics-images/forms.png
Google Workspace
public://topics-images/workspace_0.png
Android Studio
public://topics-images/android_studio_logo_2024.svg_.png
Pocket
public://topics-images/spnhfky8_400x400.png
Mozilla
public://topics-images/mozilla.jpg
Thunderbird
public://topics-images/thunderbird.png
Bluesky
public://topics-images/bluesky.jpg
Warhammer
public://topics-images/warhammer-bw.png
Relic Entertainment
public://topics-images/relic_entertainment_logo.svg_.png
Age of Empires
public://topics-images/age_of_empires_franchise_logo.png
Azul
public://topics-images/azul.png
Meta Quest
public://topics-images/meta-quest.png
Informatica
public://topics-images/qzlzwpsp_400x400.jpg
Salesforce
public://topics-images/salesforce.com_logo.svg_.png
Steam
public://topics-images/steam.png
Valve
public://topics-images/valve_logo.svg_.png
SteamOS
public://topics-images/steamos_wordmark.svg_.png
Steam Deck
public://topics-images/steam-deck.png
Arch Linux
public://topics-images/archlinux-logo-standard-version.svg_.png
Half-Life
public://topics-images/orange_lambda.svg_.png
Counter-Strike
public://topics-images/counter-strike.png
OnlyFans
public://topics-images/onlyfans_logo_icon_blue.png
Strava
public://topics-images/strava.png
Mortal Kombat
public://topics-images/mortal-kombat.png
Canon
public://topics-images/canon.png
Snipping Tool
public://topics-images/snipping.png
Microsoft Paint
public://topics-images/paint.png
Microsoft Photos
public://topics-images/photos.png
File Explorer
public://topics-images/file_explorer.png
Git
public://topics-images/git-logo.svg_.png
Star Wars
public://topics-images/star-wars.png
Activision Blizzard
public://topics-images/actvision-blizz.png
Microsoft Store
public://topics-images/microsoft-store.png
France
public://topics-images/france.png
Ricoh
public://topics-images/ricoh_logo_2005.svg_.png
Xeon
public://topics-images/xeon.png
.NET
public://topics-images/dotnet.png
SQL Server
public://topics-images/microsoft_sql_server_2025_icon.svg_.png
Power BI
public://topics-images/power-bi.png
Microsoft Fabric
public://topics-images/fabric.png
MSN
public://topics-images/msn.png
SharePoint
public://topics-images/sharepoint.png
Ubuntu
public://topics-images/ubuntu-logo-2022.svg_.png
Debian
public://topics-images/debian-openlogo.svg_.png
LLM
public://topics-images/7410e129-824e-479c-93c7-558e87130b8f.png
Meituan
public://topics-images/meituan.png
Logitech
public://topics-images/logitech_logo.svg_.png
Llama
public://topics-images/llama.png
Oracle
public://topics-images/oracle_logo.svg_.png
Circle
public://topics-images/circle.png
T-Mobile
public://topics-images/tmobile.jpg
Starlink
public://topics-images/starlink.jpg
SpaceX
public://topics-images/hbri04tm_400x400.jpg
Apple Arcade
public://topics-images/en-us-large-1x.png
TypeScript
public://topics-images/typescript.svg_.png
AlmaLinux
public://topics-images/almalinux.png
Subnautica
public://topics-images/subnautica.png
Clair Obscur
public://topics-images/clair-33.png
Dragon Quest
public://topics-images/dragon_quest_logo.png
Twitter
public://topics-images/twitter300.png
One UI
public://topics-images/one-ui.png
Fire TV
public://topics-images/amazon_fire_tv_2024.svg_.png
Stellantis
public://topics-images/stellantis.png
Taobao
public://topics-images/taobao.png
WeChat
public://topics-images/wechat.png
Alipay
public://topics-images/alipay.png
DingTalk
public://topics-images/dingtalk.png
Alibaba
public://topics-images/alibaba-group-logo.svg_.png
Pokemon
public://topics-images/international_pokemon_logo.svg_.png
NBTC
public://topics-images/nbtc.png
CD Projekt
public://topics-images/cd_projekt_logo.svg_.png
Cyberpunk 2077
public://topics-images/cyberpunk.png
The Witcher
public://topics-images/witcher.png
Boeing
public://topics-images/boeing.png
Discord
public://topics-images/discord.png
Grammarly
public://topics-images/grammarly.png
Google Lens
public://topics-images/lens.png
WordPress
public://topics-images/wordpress.png
Automattic
public://topics-images/automattic.png
Zotac
public://topics-images/zotac.png
Black Forest Labs
public://topics-images/flux.png
Sega
public://topics-images/sega.png
Twitch
public://topics-images/twitch.png
Person
public://topics-images/gemini_generated_image_ddj47iddj47iddj4.png
IntelliJ
public://topics-images/intellij.png
CrowdStrike
public://topics-images/cs_logo.png
Bandai Namco
public://topics-images/bandainamco.png
Oppo
public://topics-images/oppo.png
Dontnod
public://topics-images/don-t_nod.png
Hugging Face
public://topics-images/huggingface.png
Bixby
public://topics-images/logo_bixby_new.svg_.png
Gemma
public://topics-images/gemma.png
Flash Express
public://topics-images/flash.png
Lyft
public://topics-images/lyft.png
James Bond
public://topics-images/007.png
Snowflake
public://topics-images/snowflake.png
IO Interactive
public://topics-images/ioi.png
The Sims
public://topics-images/the_sims.png
Character.AI
public://topics-images/character_ai.png
IBM
public://topics-images/xy93qvy4_400x400.png
USB
public://topics-images/usb-logo.png
Zynga
public://topics-images/zynga.svg_.png
Broadcom
public://topics-images/broadcom.png
Photoshop
public://topics-images/ps.png
Adobe
public://topics-images/adobe.png
Premiere Pro
public://topics-images/premier.png
Database
public://topics-images/gemini_generated_image_nlgayenlgayenlga.png
GeForce Now
public://topics-images/gf-now.png
Go
public://topics-images/o6aczwfv_400x400.png
ChatGPT
public://topics-images/chatgpt.png
Final Fantasy
public://topics-images/ff.png
Swift
public://topics-images/swift_logo.svg_.png
Cursor
public://topics-images/cursor.png
AirPods Max
public://topics-images/airpodsmax.png
Koei Tecmo
public://topics-images/koei_tecmo.png
Team Ninja
public://topics-images/team-ninja.png
Disney+
public://topics-images/disney-plus.png
Capcom
public://topics-images/capcom.png
Pornhub
public://topics-images/pornhub-logo.svg_.png
Proton
public://topics-images/proton.png
PlayStation
public://topics-images/playstation.png
GOG
public://topics-images/gog-logo.png
Mistral
public://topics-images/mistral.png
No Man's Sky
public://topics-images/nomansky.png
Hello Games
public://topics-images/hello-games-logo.png
SCB
public://topics-images/scb.png
Kasikorn Bank
public://topics-images/kbank.png
Grasshopper Manufacture
public://topics-images/grasshopper-100.png
Metal Gear
public://topics-images/metal_gear_franchise_logo.svg_.png
Google Wallet
public://topics-images/g-wallet.png
PayPal
public://topics-images/paypal.png
Mark Cuban
public://topics-images/cuban.jpg
Giant Squid
public://topics-images/giant-squid.png
Black Myth: Wukong
public://topics-images/blackmyth.jpg
Deathloop
public://topics-images/deathloop_logo.webp_.png
Resident Evil
public://topics-images/residentevil.png
Street Fighter
public://topics-images/street_fighter_logo.png
Ryu Ga Gotoku
public://topics-images/ryugagotokustudio.png
Like a Dragon
public://topics-images/lad-logo.png
Sonic the Hedgehog
public://topics-images/sonic.png
Blender
public://topics-images/logo_blender.svg_.png
Volvo
public://topics-images/volvo-iron-mark-black.svg_.png
Atomic Heart
public://topics-images/atomic.png
Hitman
public://topics-images/hitman.png
Mac
public://topics-images/apple-finder.png
Arc Raiders
public://topics-images/arc-raiders.jpg
Krungsri Bank
public://topics-images/krungsri.png
Owlcat Games
public://topics-images/owlcat.png
Scale
public://topics-images/scale_ai.png
The Outer Worlds
public://topics-images/1600px-outerworlds-logo.png
Obsidian Entertainment
public://topics-images/obsidian_entertainment.svg_.png
Avowed
public://topics-images/avowed.png
Grounded
public://topics-images/grounded.png
Atlus
public://topics-images/atlus_logo_thin_stroke_277x108.png
High on Life
public://topics-images/high-logo.png
Ryzen
public://topics-images/ryzen.png
Flight Simulator
public://topics-images/microsoft_flight_simulator.png
Indiana Jones
public://topics-images/indiana_jones_logo.svg_.png
Dawnwalker
public://topics-images/the-blood-of-dawnwalker-logo-light.png
Rebel Wolves
public://topics-images/rebel-wolves-logo-black.png
inXile
public://topics-images/inxile_entertainment_logo.png
Double Fine Productions
public://topics-images/double-fine.png
Game Freak
public://topics-images/game_freak_logo.svg_.png
iOS 26
public://topics-images/ios26.png
Tahoe
public://topics-images/macos26.png
iPadOS 26
public://topics-images/ipados26.png
Zelda
public://topics-images/zelda_logo.svg_.png
watchOS 26
public://topics-images/watchos26.png
Apple Vision Pro
public://topics-images/applevisionpro.png
Amiibo
public://topics-images/amiibo.png
Thunder Lotus
public://topics-images/thunder-lotus.png
Games
public://topics-images/role-playing_video_game_icon.svg_.png
Waymo
public://topics-images/waymo.png
Grab
public://topics-images/grab_0.png
Fallout
public://topics-images/fallout_logo.svg_.png
Warner Bros. Discovery
public://topics-images/wbd.png
Splatoon
public://topics-images/splatoon.png
Kingston
public://topics-images/kingston.png
Roblox
public://topics-images/roblox_thumb.png
Google Pixel
public://topics-images/pixel_wordmark.svg_.png
Jensen Huang
public://topics-images/jensen-headshot-1906-600x338.png
Midjourney
public://topics-images/61396273.png
NBCUniversal
public://topics-images/umh_w5l-400x400.png
Disney
public://topics-images/disney.png
Snap
public://topics-images/snap_inc.png
Wikipedia
public://topics-images/wikipedia-logo-v2.svg_.png
Kaggle
public://topics-images/kaggle_logo.svg_.png
Wikimedia Foundation
public://topics-images/wikimedia_foundation.png
IonQ
public://topics-images/ionq.png
Apple TV+
public://topics-images/apple_tv_plus.png
Slack
public://topics-images/slack.png
Webex
public://topics-images/webex.png
Wayland
public://topics-images/wayland.png
GNOME
public://topics-images/gnomelogo.svg_.png
X.Org
public://topics-images/xorg.png
PCI-SIG
public://topics-images/pci-sig_logo.png
PCI
public://topics-images/pci_express.svg_.png
Instinct
public://topics-images/instinct.png
MariaDB
public://topics-images/img_9067.png
Mattel
public://topics-images/mattel-2019-svg.png
Silent Hill
public://topics-images/silent_hill_2022_logo.png
Bloober Team
public://topics-images/blooberlogo260b.png
India
public://topics-images/flag_of_india.png
Nexon
public://topics-images/nexon.svg_.png
Helldivers
public://topics-images/helldivers_print_logo.png
Mac Mini
public://topics-images/mac-mini-202410-gallery.png
Dyson
public://topics-images/dyson.png
Mario Kart
public://topics-images/mario-kart-100.png
Germany
public://topics-images/flag_of_germany.svg_.png
Gears of War
public://topics-images/gears-of-war-logo-2006.png
Warren Buffett
public://topics-images/buffett.png
Craig Federighi
public://topics-images/craige1.png
Boston Dynamics
public://topics-images/boston.png
aespa
public://topics-images/aespa.png
NewJeans
public://topics-images/newjeans.png
iPhone 16
public://topics-images/iphone16_.png
iPhone 16 Pro
public://topics-images/iphone16_pro.png
Indonesia
public://topics-images/indo_flag.png
Devil May Cry
public://topics-images/dmc5.png
Etsy
public://topics-images/etsy.png
Ghost of Yōtei
public://topics-images/ghost.png
BT
public://topics-images/bt_logo_2019.svg_.png
Kubernetes
public://topics-images/kubernetes_logo_without_workmark.svg_.png
Pixelfed
public://topics-images/pixelfed.png
Mastodon
public://topics-images/mastodon.png
Iran
public://topics-images/iran.png
Israel
public://topics-images/flag_of_israel.png
Warner Bros.
public://topics-images/warner_bros.png
Qwen
public://topics-images/qwenpng.png
Donkey Kong
public://topics-images/dk.png
Mario
public://topics-images/mario.png
Honda
public://topics-images/kln5su0v_400x400.jpg
Wix
public://topics-images/wix.png
Google Tensor
public://topics-images/ggtensor.png
Bank of Thailand
public://topics-images/bankofthailand.png
Beat Saber
public://topics-images/beat.png
PlayStation VR
public://topics-images/psvr2.png
Texas Instrument
public://topics-images/ti.png
NFC
public://topics-images/daak0pur_400x400.jpg
LG
public://topics-images/lg.png
EA Sports FC
public://topics-images/ea-fc.png
Volkswagen
public://topics-images/volkswagen_logo_2019.svg_.png
Disco Elysium
public://topics-images/disco.png
Neowiz
public://topics-images/neowiz_holdings_logo.png
Lies of P
public://topics-images/lies-p.png
Thinking Machines Lab
public://topics-images/u6tsxu60_400x400_0.png
Mira Murati
public://topics-images/-pnysxgr_400x400.png
Vimeo
public://topics-images/vimeo.png
Japan Airlines
public://topics-images/jal.png
HarmonyOS
public://topics-images/harmonyos_logo.png
Sequoia
public://topics-images/sequoia.png
iPadOS 18
public://topics-images/ipados-18-num-96x96_2x.png
Sakana AI
public://topics-images/dtnrodgp_400x400.png
Runway
public://topics-images/lpx3j0s7_400x400.png
Exynos
public://topics-images/exynos.png
MediaTek
public://topics-images/mediatek_logo.svg_.png
Arm
public://topics-images/arm.png
Facebook Groups
public://topics-images/groupslogo2.png
Death Stranding
public://topics-images/death_stranding_logo.png
Bumble
public://topics-images/bumble.png
Rematch
public://topics-images/logorematch_transcreen.png
GWM
public://topics-images/2025-gwm-logo-rgb-digital_2.png
Barclays
public://topics-images/barclays_logo.svg_.png
Asana
public://topics-images/asana.png
Dying Light
public://topics-images/dying-light-200.png
Creative Commons
public://topics-images/apple-touch-icon.png
EU
public://topics-images/flag-for-european-union_1f1ea-1f1fa.png
Cambodia
public://topics-images/flag_of_cambodia.svg_.png
HDMI
public://topics-images/high_definition_multimedia_interface_logo.svg_.png
Denmark
public://topics-images/denmark-flag.png
Riot Games
public://topics-images/riot_games_2022.svg_.png
League of Legends
public://topics-images/lol.png
Valorant
public://topics-images/valorant.png
Pioneer
public://topics-images/459525305_7951848951587833_4839605414563613731_n.png
Google Earth
public://topics-images/gearth.png
Google TV Streamer
public://topics-images/gtv_0.png
Chromecast
public://topics-images/chromecast.png
Fairphone
public://topics-images/fairphone.png
Honor
public://topics-images/honor_logo-2020-svg.png
Counterpoint Research
public://topics-images/counterpoint.png
BBC
public://topics-images/bbc.png
TrueMove H
public://topics-images/334187583_158099563725447_7727972013376860320_n.png
AliExpress
public://topics-images/aliexpress.png
Norway
public://topics-images/flag_of_norway.svg_.png
Research
public://topics-images/research-icon.png
Science
public://topics-images/science.png
Figma
public://topics-images/wpgpzf_m_400x400.png
Gemini
public://topics-images/gemini-colors.png
Social Security
public://topics-images/social-security.png
Hikvision
public://topics-images/cdyc5hhc_400x400.png
Autodesk
public://topics-images/autodesk_logo_2021.svg_.png
Rare
public://topics-images/rare_logo_2015.svg_.png
Sea of Thieves
public://topics-images/sea-of-thieves.png
Skype
public://topics-images/skype.png
Safe Superintelligence
public://topics-images/ssi.png
PowerShell
public://topics-images/powershell_256.png
Apple Store
public://topics-images/apple_store.png
Battlefield
public://topics-images/battlefieldlogo.svg_.png
Robinhood
public://topics-images/1ftlyz2c_400x400.png
Malaysia
public://topics-images/malaysia-flag.png
Forza
public://topics-images/forza_logo_2020.svg_.png
John Romero
public://topics-images/romero.jpg
TSMC
public://topics-images/tsmc_1.png
Vietnam
public://topics-images/flag_of_vietnam.svg_.png
React
public://topics-images/react.png
KPLUS
public://topics-images/kplus.png
Jack Dorsey
public://topics-images/jack.jpg
Replit
public://topics-images/replit.png
GlobalFoundries
public://topics-images/gf.png
MIPS
public://topics-images/mips.png
Linda Yaccarino
public://topics-images/c5dthmbt.png
GameStop
public://topics-images/ouc1sr_p_400x400.png
Belkin
public://topics-images/belkin_logo_2024.svg_.png
Home Assistant
public://topics-images/home-assistant.png
Next.js
public://topics-images/if82cpbs_400x400.jpg
Hertz
public://topics-images/hertz_car_rental_logo.svg_.png
Jio
public://topics-images/jio.png
Lucid Motors
public://topics-images/lucidmotor.png
Guinness World Record
public://topics-images/gwr.png
EFF
public://topics-images/eff.png
TIOBE
public://topics-images/tiobe.png
MLX
public://topics-images/102832242.png
DoD
public://topics-images/dod.png
IDC
public://topics-images/idc.png
OpenGL
public://topics-images/opengl_logo.svg_.png
Vulkan
public://topics-images/vulkan_logo.svg_.png
NIST
public://topics-images/hp8oa5cb_400x400.png
ASML
public://topics-images/img_1736.jpeg
Curl
public://topics-images/curl_icon.png
Google Assistant
public://topics-images/assistant.png
ChromeOS
public://topics-images/chromeos_logo.svg_.png
Adobe Firefly
public://topics-images/firefly.png
SonicWall
public://topics-images/sonicwall.png
Astronomer
public://topics-images/astro.jpg
Corning
public://topics-images/corning.png
Emoji
public://topics-images/emoji.png
CUDA
public://topics-images/nvidia_cuda.png
Ready or Not
public://topics-images/readyornot-logo.png
Google Tasks
public://topics-images/gtasks.png
Qi
public://topics-images/qi.png
Lego
public://topics-images/lego_logo.svg_.png
Game Boy
public://topics-images/nintendo_game_boy_logo.svg_.png
SK Hynix
public://topics-images/img_2498.png
Sonos
public://topics-images/sonos_logo.png
Eidos
public://topics-images/eidos_montreal.png
Tomb Raider
public://topics-images/tomb_raider_logo_2022.png
Guardians of the Galaxy
public://topics-images/guardians_of_the_galaxy-logo.png
Kindle
public://topics-images/kindle-smile-logo.png
Amazon Prime
public://topics-images/prime.png
Amazon Luna
public://topics-images/amazon-luna-logo.png
Moon Studios
public://topics-images/moon.png
Ghost Recon
public://topics-images/ghost_recon_logo.png
Wolfenstein
public://topics-images/wolfenstein_logo.svg_.png
Pony.ai
public://topics-images/img_2799.png
Premier League
public://topics-images/pl-logo-light.png
Horizon
public://topics-images/horizon_game_series_logo.png
Exchange
public://topics-images/exchange_1500x1500.png
Mercedes-Benz
public://topics-images/mercedes_benz-logo.png
Django
public://topics-images/django_logo.svg_.png
Apple Card
public://topics-images/apple-card.png
JPMorgan
public://topics-images/logo-jpm-brown.png
Bitchat
public://topics-images/img_6038.png
Palo Alto Networks
public://topics-images/img_6100.png
KBTG
public://topics-images/c8qypege_400x400.jpg
Linux Foundation
public://topics-images/lf_sustainability_banner.png
Octopath Traveler
public://topics-images/project_octopath_traveler_logo.png
Monster Hunter
public://topics-images/monster_hunter_logo.png
Hideo Kojima
public://topics-images/kojima.jpg
Nintendo Switch
public://topics-images/switch1.png
Cerebras
public://topics-images/celebras.png
2K Games
public://topics-images/2k_2021_logo.svg_.png
BioShock
public://topics-images/bioshock-logo.svg_.png
Australia
public://topics-images/flag_of_australia.png
Groq
public://topics-images/groq.png
Ukraine
public://topics-images/flag_of_ukraine.svg_.png
Delta Air Lines
public://topics-images/o1z2hvzv_400x400.jpg
SAP
public://topics-images/img_8162.png
Audible
public://topics-images/lj9g-ikl_400x400.png
Vine
public://topics-images/vine_logo.svg_.png
THQ Nordic
public://topics-images/thq_nordic_logo_2016.svg_.png
Darksiders
public://topics-images/darksiders_logo.png
Embracer Group
public://topics-images/embracer_group_logo.svg_.png
Kingdom Come
public://topics-images/kcd2-banner-2.png
Gearbox
public://topics-images/gearbox_software_logo.svg_.png
Rockstar
public://topics-images/rockstar.png
Amazon Games
public://topics-images/amazon_games_logo.svg_.png
New World
public://topics-images/new-world.png
Crystal Dynamics
public://topics-images/cd.png
Metro Games
public://topics-images/metro.png
Supermicro
public://topics-images/img_8331.png
Genshin Impact
public://topics-images/genshin_impact_logo.svg_.png
Tan Lip-Bu
public://topics-images/img_8326.jpeg
Hulu
public://topics-images/hulu.png
iFixit
public://topics-images/ifixit_logo.svg_.png
Nightdive Studios
public://topics-images/nightdive_studios.svg_.png
id Software
public://topics-images/id_software.svg_.png
Quake
public://topics-images/quake.png
Astro
public://topics-images/astro.png
Zend
public://topics-images/logo-zend-reg.png
PHP
public://topics-images/php-logo.svg_.png
Framework Laptop
public://topics-images/framework.png
WebKit
public://topics-images/webkit_logo-2023-svg.png
Safari
public://topics-images/safari.png
Diablo
public://topics-images/diablo.png
Warcraft
public://topics-images/warcraft_logo.png
Blizzard
public://topics-images/blizzard_entertainment_logo_2015.svg_.png
Overwatch
public://topics-images/overwatch_circle_logo.svg_.png
World of Warcraft
public://topics-images/logo-wow.png
Hearthstone
public://topics-images/hearthstone.png
HandBrake
public://topics-images/handbrake.png
AOL
public://topics-images/hkam9td-400x400.png
Yahoo!
public://topics-images/yahoo.png
PayPay
public://topics-images/paypay.png
WinRAR
public://topics-images/winrar.png
ESET
public://topics-images/eset.png
Internet Archive
public://topics-images/bygruzmj_400x400.png
OpenSSH
public://topics-images/2387206.png
Vodafone
public://topics-images/vodafone.png
Verizon
public://topics-images/verizon.png
Microsoft Defender
public://topics-images/defender.png
Cryptocurrency
public://topics-images/bitcoin.svg__0.png
LINE Webtoon
public://topics-images/naver_line_webtoon_logo.png
Google News
public://topics-images/google-news.png
Pebble
public://topics-images/pebble.png
FFmpeg
public://topics-images/ffmpeg_logo_new.svg_.png
VLC
public://topics-images/vlc_icon.svg_.png
AV1
public://topics-images/av1_logo_2018.svg_.png
Football Manager
public://topics-images/fm.png
United Kingdom
public://topics-images/flag_of_the_united_kingdom.png
Python
public://topics-images/python-logo-notext.svg_.png
DuckDuckGo
public://topics-images/duck.png
nginx
public://topics-images/nginx.png
Google Translate
public://topics-images/google-translate.png
Parag Agrawal
public://topics-images/parag.jpg
VirtualBox
public://topics-images/virtualbox_2024_logo.svg_.png
Google Flights
public://topics-images/travel_flights_96dp_maskable.png
Posit
public://topics-images/posit-logo-2024.png
Apple Health
public://topics-images/apple-health.png
BMW
public://topics-images/bmw.svg_.png
Node.js
public://topics-images/node.js_logo.svg__0.png
Workday
public://topics-images/qa8vjtrt_400x400.png
MSNBC
public://topics-images/msnbc_2023.svg_.png
PuTTY
public://topics-images/screenshot-2025-08-20-at-00.23.08.png
Batman
public://topics-images/batman.png
LibreOffice
public://topics-images/libreoffice.png
Google Pixel 10
public://topics-images/pixel10_.png
Pixel Watch
public://topics-images/watch.png
Google Pixel Buds
public://topics-images/buds-2a.png
Ghost of Tsushima
public://topics-images/gotlogo.png
Fitbit
public://topics-images/fitbit.png
Hollow Knight
public://topics-images/silksong-cover.png
Tropico
public://topics-images/tropico_logo.png
DirectX
public://topics-images/directx.png
ROG Ally
public://topics-images/rog-ally.png
FBI
public://topics-images/seal_of_the_federal_bureau_of_investigation.svg_.png
ZA/UM
public://topics-images/zaum.png
Saudi Arabia
public://topics-images/flag_of_saudi_arabia.png
Niantic Labs
public://topics-images/niantic.png
Pokemon Go
public://topics-images/pokemon-go.png
Scopely
public://topics-images/scopely.png
Monopoly
public://topics-images/monopoly.png
Transformers
public://topics-images/transformers_2014_logo.png
Hashbro
public://topics-images/hasbro_logo.svg_.png
Sony Pictures
public://topics-images/sony_pictures_inc-logo.svg_.png
Angry Birds
public://topics-images/angry_birds_promo_art.png
Atom Text Editor
public://topics-images/atom.png
Electron
public://topics-images/electron.png
Zed
public://topics-images/zed.png
Finland
public://topics-images/flag_of_finland.svg_.png
South Korea
public://topics-images/flag_of_south_korea.png
Xbox Game Pass
public://topics-images/xbox_game_pass.png
HP
public://topics-images/hp_new.png
Taylor Swift
public://topics-images/img_0838.png
Atari
public://topics-images/atari_official_2012_logo.svg_.png
BYD
public://topics-images/byd_auto_2022_logo.svg_.png
Stardew Valley
public://topics-images/stardew.png
Escape From Tarkov
public://topics-images/tarkov.png
McDonalds
public://topics-images/mcdonalds.png
Taco Bell
public://topics-images/taco-bell-icon.png
Fastly
public://topics-images/fastly_logo.svg_.png
Bangkok Bank
public://topics-images/bangkok-bank.png
Western Digital
public://topics-images/western_digital_logo-2025-svg.png
Dolby
public://topics-images/dolby.png
Hisense
public://topics-images/hisense.png
Sharp
public://topics-images/sharp.png
Toshiba
public://topics-images/toshiba.png
Anker
public://topics-images/ankerpng.png
EVO
public://topics-images/evo_championship_series_logo.png
MrBeast
public://topics-images/img_1683.jpeg
Garmin
public://topics-images/garmin.png
HPE
public://topics-images/img_1744.png
Atlassian
public://topics-images/atlassian.png
The Browser Company
public://topics-images/browser-company.png
ThinkPad
public://topics-images/thinkpad_logo.svg_.png
Lenovo
public://topics-images/lenovo-2015-svg_0.png
European Commission
public://topics-images/eu-com.png
Firaxis Games
public://topics-images/firaxis.png
AppLovin
public://topics-images/9qvw0l4x_400x400.png
OnePlus
public://topics-images/oneplus.png
Beats
public://topics-images/beats.png
VK
public://topics-images/vk.png
Russia
public://topics-images/flag_of_russia.png
Wargaming
public://topics-images/wg.png
Nebius
public://topics-images/tcowockq_400x400.png
AirPods
public://topics-images/airpodspro3.png
Apple Watch
public://topics-images/watch11.png
Apple Watch Ultra
public://topics-images/watchultra3.png
iPhone 17 Pro
public://topics-images/ip17_pro.png
iPhone Air
public://topics-images/iphoneair.png
iPhone 17
public://topics-images/iphone17.png
Apple Watch SE
public://topics-images/applewatchse.png
Unicode
public://topics-images/13873561.jpeg
Bending Spoons
public://topics-images/bending.png
Larry Ellison
public://topics-images/larryel.png
Stability AI
public://topics-images/stability_ai-wordmark.png
NPM
public://topics-images/npm.png
F5 Networks
public://topics-images/f5_400.png
HMD
public://topics-images/hmd_global_logo_2024.png
Fire Emblem
public://topics-images/fire_emblem_logo.svg_.png
FDA
public://topics-images/untvhciq_400x400.jpg
Hades
public://topics-images/hades-2-logo.png
Metroid
public://topics-images/metroid_logo_2017.svg_.png
Nova Launcher
public://topics-images/nova.png
Alphabet
public://topics-images/alphabet.png
Webtoon
public://topics-images/webtoon1.png
Ray-Ban
public://topics-images/ray-ban_logo.svg_.png
Java
public://topics-images/java_programming_language_logo.svg_.png
StubHub
public://topics-images/stubhub.png
Oakley
public://topics-images/oakley_logo.svg_.png
Horizon Worlds
public://topics-images/meta-horizon.png
Netskope
public://topics-images/netskope.png
WebAssembly
public://topics-images/webassembly_logo.svg_.png
Roku
public://topics-images/roku.png
AYANEO
public://topics-images/ayaneo.png
AKB48
public://topics-images/akb48.png
Northrop Grumman
public://topics-images/northrop_grumman.png
True ID
public://topics-images/true-id.png
Google Play Games
public://topics-images/gg-play-games.png
Insomniac
public://topics-images/insomniac_games.png
Deus Ex
public://topics-images/deus_ex_universe_logo.png
Housemarque
public://topics-images/housemarque.svg_.png
Google Search
public://topics-images/google-search-app.png
Raspberry Pi
public://topics-images/x9zmzhi9_400x400.jpg
eBay
public://topics-images/img_4817.jpeg
Klook
public://topics-images/klook.png
Google Home
public://topics-images/new-google-home.png
Jules
public://topics-images/jules.png
Supabase
public://topics-images/supabase.png
Firebase
public://topics-images/firebase.png
Peter Molyneux
public://topics-images/peter_molyneux.jpg
Affinity
public://topics-images/p5wlrso8_400x400.jpg
Unity
public://topics-images/unity.png
Deloitte
public://topics-images/logo_of_deloitte.svg_.png
Hitachi
public://topics-images/d5cb3u_d_400x400.png
AltStore
public://topics-images/altstore.jpg
Nobel
public://topics-images/nobel.png
Arduino
public://topics-images/arduino_logo.png
Sora
public://topics-images/img_8233.png
Windows XP
public://topics-images/windows_xp.png
GoPro
public://topics-images/gopro.png
Pikmin
public://topics-images/pikmin.png
Windows 10
public://topics-images/windows_10_logo.svg_.png
Toyota
public://topics-images/toyota-logo.png
iPad Pro
public://topics-images/ipadpro.png
Apple M5
public://topics-images/apple-m5.png
MacBook Pro
public://topics-images/macbookpro.png
Coral
public://topics-images/coral_symbol.png
Parallels
public://topics-images/parallels.png
Privacy Sandbox
public://topics-images/privacy-sandbox.png
Indiegogo
public://topics-images/352568630_639892788063249_6998682290287321916_n.jpg
GIMP
public://topics-images/wilber-big.png
JavaScript
public://topics-images/unofficial_javascript_logo_2.svg_.png
Xubuntu
public://topics-images/vvrc4lnm_400x400.jpg
Atlas
public://topics-images/atlas_browser.png
Mastercard
public://topics-images/mastercard.png
ICANN
public://topics-images/icann_logo.svg_.png
Halo
public://topics-images/halo-series-logo.svg_.png
Open Source
public://topics-images/open_source_initiative.svg_.png
Grokipedia
public://topics-images/grokipedia.png
Redmi
public://topics-images/redmi.png
SUSE
public://topics-images/suse.png
Superhuman
public://topics-images/img_1132.jpeg
Paramount
public://topics-images/paramount.png
Pat Gelsinger
public://topics-images/img_1172.jpeg
Animal Crossing
public://topics-images/img_1544.png
Magic Leap
public://topics-images/magic_leap_logo.svg_.png
Coca-Cola
public://topics-images/coca_cola.png
PlayStation Portal
public://topics-images/ps-portal.png
Polestar
public://topics-images/polestar.png
Eclipse Foundation
public://topics-images/eclipse-foundation.png
Moonshot AI
public://topics-images/moonshot-ai.png
BioWare
public://topics-images/bioware_2018.svg_.png
Mass Effect
public://topics-images/logo_mass_effect.svg_.png
Red Dead Redemption
public://topics-images/red-dead.png
ROCm
public://topics-images/rocm.png
Reuters
public://topics-images/reuters.png
Battery
public://topics-images/battery.png
Yann LeCun
public://topics-images/357655504_766123181865912_4812354228100980545_n.jpg
Amazon Leo
public://topics-images/leo-logo.png
X
public://topics-images/google-x.png
Steam Machine
public://topics-images/steam-machine.png
Deezer
public://topics-images/deezer_logo.jpg
Windows
public://topics-images/windows.png
Jeff Bezos
public://topics-images/jeff.jpg
The Game Awards
public://topics-images/the-game-award.png
Antigravity
public://topics-images/google-antigravity.png
Nexperia
public://topics-images/vydrpct0_400x400.jpg
Netherlands
public://topics-images/netherland_flag.png
SQLite
public://topics-images/sqlite.png
Rocket League
public://topics-images/rocket.png
AirDrop
public://topics-images/airdrop.png
Cities: Skylines
public://topics-images/cities-2.png
Ai2
public://topics-images/ai2.png
CSA
public://topics-images/csa.jpg
Matter
public://topics-images/matter.png
Apple TV
public://topics-images/appletv.png
Cryptography
public://topics-images/gemini_generated_image_lmurlulmurlulmur-removebg-preview.png
Quick Share
public://topics-images/quickshare.png
PS3
public://topics-images/ps3.png
PDPC
public://topics-images/pdpc.png
Far Cry
public://topics-images/farcry-logo.png
Spring
public://topics-images/spring.png
KDE
public://topics-images/kde.png
SCB 10X
public://topics-images/scb10x.png
Airbus
public://topics-images/logo_blue-copy.png
Nano Banana
public://topics-images/nano-banana.png
teppay
public://topics-images/teppay.png
Absurd Ventures
public://topics-images/absurd.png
IPO
public://topics-images/ipo_font.png
Memory
public://topics-images/media-flash.svg_.png
Synopsys
public://topics-images/bfge93-w_400x400.jpg
MKBHD
public://topics-images/mkbhd.jpg
Let's Encrypt
public://topics-images/lsujvwxu_400x400.jpg
Bun
public://topics-images/bun.png
Z.ai
public://topics-images/zai.png
Kiro
public://topics-images/kiro.png
Binance
public://topics-images/f5y2qenu_400x400.jpg
Total War
public://topics-images/total-war.png
Oxford English Dictionary
public://topics-images/oajpdine_400x400.jpg
Mihoyo
public://topics-images/mihoyo.png
Tekken
public://topics-images/tekken_series_logo.svg_.png
XREAL
public://topics-images/xreal.png
Elastic
public://topics-images/elastic.png
Elasticsearch
public://topics-images/elasticsearch.png
OpenSearch
public://topics-images/opensearch.png
Log4j
public://topics-images/apache_log4j_logo.png
Circana
public://topics-images/circana.png
Terra
public://topics-images/terra.png
Larian Studios
public://topics-images/larian.jpg
Time
public://topics-images/cv44xy5x_400x400.jpg
Control
public://topics-images/control.png
Remedy Entertainment
public://topics-images/remedy.png
Alan Wake
public://topics-images/alanwake-logo.svg_.png
Rockman
public://topics-images/rockman_logo.png
R
public://topics-images/r_logo.svg_.png
System76
public://topics-images/system76.png
Tether
public://topics-images/fzan41qwaae5z82.jpg
iRobot
public://topics-images/ifhlpvr6_400x400.jpg